1989 dodge ramcharger engine diagram

[DF_8210] For A 1989 Dodge Dakota Wiring Diagram Free Diagram. 9 Pictures about [DF_8210] For A 1989 Dodge Dakota Wiring Diagram Free Diagram : [DF_8210] For A 1989 Dodge Dakota Wiring Diagram Free Diagram, I have an 87 Dodge D100 with an intermittent ignition problem. It has a and also 97 Dakotum 2 5 Engine Diagram - Fuse & Wiring Diagram.

[DF_8210] For A 1989 Dodge Dakota Wiring Diagram Free Diagram

[DF_8210] For A 1989 Dodge Dakota Wiring Diagram Free Diagram ospor.cajos.mohammedshrine.org

wiring diagram 1989 dodge caravan dakota engine

Serial Bus Wiring Diagram - Search Best 4K Wallpapers

Serial Bus Wiring Diagram - Search Best 4K Wallpapers www.smarts4k.com

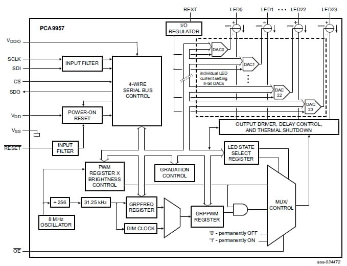
spi wiring nxp

97 Dakotum 2 5 Engine Diagram - Fuse & Wiring Diagram

97 Dakotum 2 5 Engine Diagram - Fuse & Wiring Diagram fusewiring.blogspot.com

diagram

Dodge Diagram | Wiring Diagram Database

Dodge Diagram | Wiring Diagram Database 3.ncceconnect.org

dodge belt serpentine caravan diagram diagrams engine routing 2003 timing wiring

I Have An 87 Dodge D100 With An Intermittent Ignition Problem. It Has A

I have an 87 Dodge D100 with an intermittent ignition problem. It has a www.justanswer.com

dodge d100 ignition diagram intermittent problem control

1986 Dodge 1500 Pickup Wiring. 1986 Ramcharger Alternator Wirig. Have A

1986 Dodge 1500 Pickup Wiring. 1986 ramcharger alternator wirig. have a w01.heinz-duthel.com

vacuum glhs d100 alternator d150

88 Dodge Dakotum Fuse Box

88 Dodge Dakotum Fuse Box hestiahelper.blogspot.com

diagram wiring fuse ford box 1988 fuel pump f150 ranger relay bronco 88 ii 1989 f250 dodge overdrive panel f350

318 V8 Engine Diagram - Wiring Diagram Networks

318 V8 Engine Diagram - Wiring Diagram Networks kelvin-okl.blogspot.com

engine diagram v8 amc 304 jeep wiring nice place

4163068 - Genuine Dodge WIRING TILT STEERING COLUMN J

4163068 - Genuine Dodge WIRING TILT STEERING COLUMN J www.moparpartsgiant.com

tilt d150

Wiring diagram 1989 dodge caravan dakota engine. 318 v8 engine diagram. Dodge belt serpentine caravan diagram diagrams engine routing 2003 timing wiring